|
|
|
| Вентиль-фильтр ВФ-15 "BIP" |
с керамическим запорным узлом предназначен для установки в любые
системы водо- и теплоснабжения в качестве запорно-регулирующего и
фильтрующего органа на водопроводных трубах Ѕ дюйма/15 мм.
Рекомендован к применению при проектировании систем водо- и теплоснабжения жилых и административных зданий (протоколы заседаний экспертного совета при Госкомитете по энергосбережению РБ № 6 от 25.01.2000 г. И № 7 от 30.03.2000 г.).
|
| Что же делает наше новое изделие современным, надежным и привлекательным? |
- это совмещение функций вентиля и фильтра в одном компактном изделии, а это значит, что при монтаже водомерного узла стало на одну монтажную единицу меньше, т.е. монтаж обойдется Вам дешевле;
- это поворотная ось вентиля, конструктивно изолированная от воды и поэтому не нуждающаяся в сальниковом уплотнении, что делает ее вращение легким и плавным;
- это запатентованное устройство запорного узла из современной высокопрочной керамики, для которой и 100000 циклов закрытия - открытия не предел, что делает ВФ-15 практически вечным;
- это возможность ремонта без демонтажа вентиль-фильтра;
- это конструкция, исключающая шумы, вибрацию, возможность гидроудара, не требующая обслуживания;
- это полное открытие вентиля, происходящее при повороте маховичка всего на 90 о;
- и, наконец, это существенно меньшая стоимость вентиль-фильтра по сравнению со стоимостью комплекта, когда вентиль и фильтр приобретаются порознь.
| Технические характеристики |
|
Наименование параметра
|
Значение параметра
|
Примечание
|
|
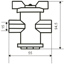
Габаритные размеры, мм
|
94,5 х 55,0 x 36,7
|
Назначение:
регулирование расхода и фильрация воды
|
|
Присоединительные размеры, дюймы
|
Внутренняя резьба G 1/2
|
|
Рабочее давление, МПа
|
1,0
|
|
Диапазон рабочих температур, С
|
от +5 до +90
|
|
Вес, г
|
320
|
|
Ресурс циклов открытия закрытия
|
100.000
|
|
Срок службы, лет
|
12
|
|
Конструкционные материалы
|
латунь, угленаполненный полиамид, вакуумплотная керамика ВК-94-1, резина ИРП.
|
| Габаритные и присоединительные размеры |

Установка водосчетчиков позволит Вам платить за воду в 2-3 раза меньше!
|

|
НПООО "Эрготех"
Республика Беларусь
г.Минск,
ул. Казинца, 2а
[схема проезда]
телефоны:
+(37517) 343-08-38
(факс)
+(37517) 300-01-62
(бухгалтерия)
E-mail:
info@ergotech.by
|
|